ĐỒ GÁ GIA CÔNG TRÊN MÁY TIỆN
Đồ gá gia công trên máy tiện có nhiều phương pháp gá đặt khác nhau như: gá trên mâm cặp, gá trên các mũi tâm, gá trên các loại trục gá (trục gá cứng hoặc trục gá đàn hồi), gá trên các loại ống kẹp đàn hồ và gá trên các đồ gá chuyên dùng. Vì vậy, đồ gá gia công trên các máy tiện cũng rất đa dạng.
Một số loại đồ gá gia công điển hình trên máy tiện
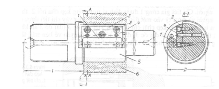
1. Trục gá cứng hình trụ
Các loại trục gá cứng được dùng để gia công các chi tiết có lỗ ren trong suốt chiều dài và mặt đầu trong một lần gá. Trục gá cứng hình trụ thường gia công đường kinh Ø350 của cánh bơm. Chi tiết gia công (4) được định vị trên trục gá (3) và được kẹp chặt bằng đai ốc (2). Trục gá cùng chi tiết gia công được gá trên hai mũi tâm (1) và (5). Để truyền momen xoắn dùng cặp tốc (6).
2. Trục gá đàn hồi
Dùng để định vị và kẹp chặt chi tiết. Chi tiết gia công (4) được định vị trên trục gá đàn hồi (3) (theo mặt trụ trong) và mặt gờ của thân trục gá (5). Như vậy chi tiết được định vị năm bậc tự do. Để kẹp chặt chi tiết phải xiết đai ốc (1). Khi xiết đai ốc (1), chi tiết hình côn (2) dịch chuyển về bên trái. Làm cho trục gá đàn hồi bung ra để kẹp chặt chi tiết (4). Thân trục gá (5) (hình côn) được lắp vào trục chính của máy tiện và được kẹp rút từ phía sau trục chính.
3. Ống kẹp đàn hồi
Ống kẹp đàn hồi để định vị và kẹp chặt chi tiết theo mặt trụ ngoài. Chi tiết gia công được định vị trong ống kẹp đàn hồi (2) theo mặt trụ ngoài và được tỳ vào mặt đầu của chi tiết (4). Như vậy chi tiết được định vị năm bậc tự do. Để kẹp chặt chi tiết phải xiết đai ốc (3) (đai ốc ăn khớp với thân). Khi xiết đai ốc (3) này dịch chuyển về bên trái làm cho ống kẹp đàn hồi (2) bị bóp lại và kẹp chặt chi tiết (1).
4. Trục gá với lò xo đĩa
Trục gá với lò xo đĩa được dùng để định vị và kẹp chặt chi tiết theo mặt trụ trong. Trục gá gồm: thân (1), vòng chặn (3), lò xo đĩa (4), ống kẹp (2) và vít (5). Khi xiết vít (5), ống kẹp (2) làm biến dạng các lò xo đĩa (4) theo phương hướng kính để kẹp chặt chi tiết (6). Thân được lắp vào lỗ côn của trục chính và được kẹp chặt bằng đòn rút ở phía sau trục chính.
5. Trục gá tự kẹp chặt bằng một con lăn
Kết cấu của trục gá bằng một con lăn gồm: con lăn (1), miếng đệm (2), vít hãm (3), chốt định vị (4) và thân trục gá (5). Con lăn (1) phải được mài cho đến khi đường kính D bằng đúng đường kính của thân trục gá. Chi tiết gia công (6) được kẹp chặt nhờ lực ly tâm cắt.
6. Trục gá tự kẹp chặt bằng ba con lăn
Trục gá tự kẹp chặt bằng ba con lăn nằm cách nhau 120°. Các miếng ngăn cách con lăn (2) được lắp trên thân gá (1), giữa các miếng ngăn cách này có các con lăn(3). Trước khi gá chi tiết gia công (8), các miếng ngăn cách (2) phải quay đi một góc để cho các con lăn (3) nằm ở vị trí thấp nhất. Sau khi gá chi tiết gia công xong, dưới tác dụng của lò xo (7) các miếng ngăn cách con lăn (2) quay ngược lại và con lăn (3) được chêm chặt sơ bộ. Các viên bi (4) và vòng đệm (5) có tác dụng đẩy chi tiết gia công (8) tỳ sát vào gờ trái của trục gá khi xiết đai ốc (6).
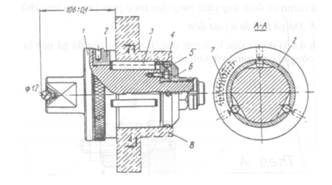
7. Đồ gá tiện mặt đầu và lỗ
Chi tiết gia công (1) được định vị trên phiến tỳ tròn (3) và phần trụ (2) của trục gá. Như vậy chi tiết được hạn chế 5 bậc tự do. Kẹp chặt chi tiết được thực hiện bằng hai mỏ kẹp (4). Phần đuôi côn của trục gá (2) được lắp vào lỗ côn của trục chính. Và được kẹp chặt bằng đòn rút ở phía sau của trục chính.
8. Đồ gá tiện lỗ ở mặt đầu
Đặc điểm của đồ gá tiện lỗ ở mặt đầu là tâm lỗ được gia công không trùng với tâm lỗ của lỗ định vị chính.
Chi tiết gia công (1) được định vị trên phiến tỳ tròn (3), chốt trụ (2) và chốt tỳ chống xoay (5). Chúng kẹp chặt chi tiết được thực hiện bằng hai mỏ kẹp (4). Vì tâm quay của chi tiết gia công không trùng tâm định chính. Nên phải lắp thêm phần đối trọng (6) (để tạo được cân bằng khi gia công).
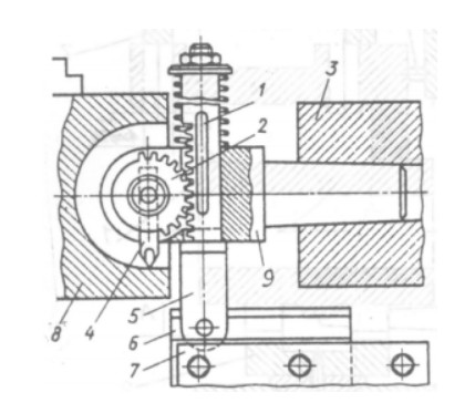
9. Đồ gá tiện mặt cầu lõm
Chi tiết gia công (8) được gá trên mâm cặp 3 chấu của máy tiện. Thân đồ gá (9) được lắp trong ụ động (3) của máy. Bánh răng (2) ăn khớp với thanh răng (1). Đuôi (5) của thanh răng ̣(1) cùng với đài gá dao (7) được gá trên đế (6). Khi đài gá dao (7), đế (6) và đuôi thanh răng (5) dịch chuyển về phía sau (vuông góc với tâm trục chính). Thì thanh răng (1) làm cho bánh răng (2) quay theo chiều kim đồng hồ cùng với dao (4). Để tạo ra mặt cầu có bán kính chọn trước.
10. Mâm cặp
-Mâm cặp dùng để kẹp chặt và cố định các chi tiết khi gia công, mâm cặp được lắp trên trục chính thông qua bề mặt côn định vị và ren trên đầu trục chính
-Mâm cặp gồm có hai loại: tự định tâm và không tự định tâm.
-Mâm cặp tự định tâm là mâm cặp dùng để kẹp chặt các chi tiết gia công dạng tròn xoay , khi kẹp chặt chi tiết gia công có tâm trùng với tâm của trục chính, có các loại mâm cặp tự định tâm là : Mâm cặp 2 chấu, 3 chấu, 4 chấu và 6 chấu và thường trong gia công người ta sử dụng mâm cặp 3 chấu tự định tâm là nhiều
-Mâm cặp không tự định tâm ( Mâm cặp có các chấu độc lập) : là mâm cặp có các chấu dịch chuyển hướng tâm độc lập với nhau trong các vành của mâm cặp , ở vị trí mỗi chấu có nửa đai ốc ăn khớp với vit me , một đầu của vit me có lỗ vuông để cắm chìa vặn , khi vặn vít me thì chấu cặp tương ứng sẽ dịch chuyển hướng tâm , Mâm cặp không tự định tâm thường để kẹp chặt các chi tiết không đối xứng hoặc kẹp chặt để gia công các chi tiết lệch tâm.
11. Mũi chống tâm
- Mũi chống tâm dùng để gá đặt các chi tiết kém cứng vững hoặc các chi tiết trục dài có khoan tâm ở hai đầu
- Mũi chống tâm gồm có 4 loại : Mũi tâm cố định, Mũi tâm xoay, mũi tâm ngược, mũi tâm có khía nhám
- Mũi tâm cố định : thường dùng ở ụ động hoặc sau trục chính, sử dụng khi gia công chi tiết với tốc độ thấp
- Mũi tâm xoay : thường đùng ở ụ dộng hoặc sau trục chính để gia công các chi tiết với tốc độ lớn hơn
- Mũi tâm ngược là loại mũi tâm không tiêu chuẩn dùng để gá đặt gia công các chi tiết có kích thước nhỏ , có đầu tâm ngoài và cắt gọt với lượng dư nhỏ , mũi tâm ngược cũng bao gồm mũi tâm cố định và mũi tâm xoay
- Mũi tâm có khía nhám : Khi gia công các chi tiết có hình trụ rỗng ( hình ống) , người ta sử dụng mũi tâm có khía nhám ( lắp ở đầu trục chính và mũi tâm hình nón cụt (lắp ở phía ụ động)
12. Tốc kẹp
Tốc kẹp là một dụng cụ đỡ gá chuyên dùng để truyền momen quay cho chi tiết gia công được gá trên hai mũi tâm thông qua mâm đẩy tốc hay đuôi tốc, Tốc kẹp có hai loại là tốc kẹp đuôi thẳng và tốc kẹp đuôi cong
Hy vọng qua bài viết trên giúp bạn hiểu rõ hơn về các loại đồ gá trên máy tiện để có thể vận hành và bảo dưỡng máy dễ dàng. Ngoài ra, nếu quý khách hàng cần tìm mua các sản phẩm về hợp kim và linh kiện cơ khí khác.
Quý khách có thể liên hệ với chúng tôi thông qua các hình thức sau:
- Hotline: 094 124 7183
- Email: linhkienvanthai@gmail.com
Công ty Văn Thái chúng tôi chuyên cung cấp các linh kiện và tất cả các loại hợp kim theo yêu cầu của khách hàng để sản xuất dao phay gỗ, với mã hợp kim đa dạng như: YG6, YG6Z, YG8, YG3X, YG15C, YG20C, YG25C... tùy vào nhu cầu sử dụng của khách hàng mà chúng tôi có: dây cắt Trường Thành, dây cắt Cánh Chim ( xanh, đỏ ), dây cắt Quang Minh ( cam, xanh ), dây cắt Honglu ( giấy, nhựa ), dây cắt Kim Cương và cả dây cắt Nhôm,… dầu cắt dây DX-2, dầu cắt JIARUN #1 ( JR#1) ( dầu xanh lá ), dầu cắt JUARUN 2A, hộp dầu JIARUN 3A, dầu SDK2, dầu SDK 3 ( dầu vàng ), dầu SDK 118, dầu WED-218 và cả dầu mài JD,…. Động cơ điện, động cơ bước tiến, bánh xe (puly), nút đồng, nắp đậy, bộ bạc đạn bánh xe, bạc đạn, động cơ điện, máy bơm, card HL, dây Curoa, hợp kim dẫn điện,….
Lựa chọn Văn Thái và các sản phẩm do Văn Thái cung cấp quý khách sẽ vô cùng hài lòng vì chúng tôi có:
Dịch vụ giao hàng nhanh
Hậu mãi tốt
Sản phẩm giá thành hợp lí, chủng loại đa dạng.








